- 雷達液位計料位計系列產品
- 壓力/液位/差壓/密度變送器
- 液位儀表系列
- 流量儀表系列
- 物位儀表系列
- 液位/溫度/壓力/流量-報警儀
- PLC/DCS自動化控制監控系統
- GPRS無線遠傳裝置
- 有紙/無紙記錄儀系列
- 溫度儀表系列
- 分析儀|檢測儀|校驗儀系列
電話:86 0517-86917118
傳真:86 0517-86899586
銷售經理:1560-1403-222 (丁經理)
??? ? ? ? 139-1518-1149 (袁經理)
業務QQ:2942808253 / 762657048
網址:http://www.ccsso.com.cn
不銹鋼玻璃轉子流量計

產品名稱:RZ-LZB()B/LZJ系列不銹鋼玻璃轉子流量計
產品類別:不銹鋼玻璃轉子流量計
RZ-LZB()B/LZJ系列不銹鋼玻璃轉子流量計的詳細資料:
RZ-LZB()B/LZJ系列不銹鋼玻璃轉子流量計**應用于化工、石油、輕工、醫藥、環保、食品及計量測試、科學研究等部門,測量單相非脈動流體(液體或氣體)的流量。
RZ-LZB/( )F/LZJ-( )F系列耐腐型玻璃轉子流量計有較強的耐腐性能,可檢測酸(氫氟酸除外)、堿、氧化劑和其它腐蝕性的氣體或液體的流量,適用于化工、制藥、造紙、污水處理等行業。
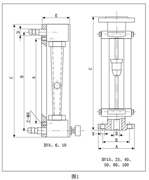
外形及安裝尺寸


原理與結構
不銹鋼玻璃轉子流量計主要由一根自下而上擴大的錐形玻管和一只隨流體流量大小上下移動的不銹鋼浮子組成(圖3)。流體自下而上流經錐管時,流體動能在浮子上產生的升力S和流體的浮力A使浮子上升,當升力S與浮力A之和等于浮子自身重力G時,浮子處于平衡,穩定在某一高度位置上,錐管上的刻度指示流體的流量值。
流量計中浮子讀數位置按圖2所示:

RZ-LZB/LZB-( )F流量計的錐管為光滑內壁管(見圖4),通徑DN15以上的流量計,浮子通過導桿 上下移動,保持穩定;RZ-LZJ/LZJ-( )F流量計錐管 內壁有三條導向凸筋,使浮子保持穩定(見圖4)。通徑DN10以下的流量計采用軟管連接,配有 針形流量調節閥;通徑DN15以上流量計采用法蘭連接。


接觸測量流體的零部件材質

RZ-LZB()B/LZJ系列不銹鋼玻璃轉子流量計型號規格及技術參數

全不銹鋼型
法蘭、浮子、導桿、支承板及螺栓等均為不銹鋼304(1Cr18Ni9Ti),型號為RZ-LZB-( )B。
接液材質如需選用316,則型號為RZ-LZB-( )Bo,需定做。
如需不銹鋼內襯PTFE,則型號為RZ-LZB-( )BF(或BoF),需定做。
全四氟型
基座、浮子、針閥采用聚四氟乙烯(PTTFE)。支承板、螺絲等采用不銹鋼
- 相關文章
-
- 雷達液位計的作用 【2025-11-18】
- 雷達液位計使用注意事項 【2025-11-18】
- 雷達液位計安裝注意事項全解析 【2025-11-14】
- 雷達液位計工作原理及相關說明 【2025-11-14】








