- 雷達液位計料位計系列產品
- 壓力/液位/差壓/密度變送器
- 液位儀表系列
- 流量儀表系列
- 物位儀表系列
- 液位/溫度/壓力/流量-報警儀
- PLC/DCS自動化控制監控系統
- GPRS無線遠傳裝置
- 有紙/無紙記錄儀系列
- 溫度儀表系列
- 分析儀|檢測儀|校驗儀系列
電話:86 0517-86917118
傳真:86 0517-86899586
銷售經理:1560-1403-222 (丁經理)
??? ? ? ? 139-1518-1149 (袁經理)
業務QQ:2942808253 / 762657048
網址:http://www.ccsso.com.cn
平面雙法蘭差壓變送器測量液位的三種安裝方式的研究
主要問題在使用大直徑的平面式法蘭差壓變送器時,在檢測范圍的初始段(約15%以內)和檢測范圍的終段(約85%以上)呈現出不同程度的非線性問題。在小量程的液位檢測時非線性問題體現的尤為嚴重,故而無法使用。當時解決方案采用小直徑的平面式雙法蘭差壓變送器,問題得到了一些緩解,但只是非線性區域縮小了, 但沒有從根本上解決問題。對于小量程的液位檢測問題, 無奈之下, 采用了更換檢測方式(采用通用差壓變送器)解決了檢測過程中的非線性問題, 但是由于引壓系統易阻塞等問題在檢測過程中故障頻發且數據的可靠性仍不如人意。經單位許多工程技術人員在長期現場工作中的觀察及對在液位檢測時平面式雙法蘭差壓變送器檢測特性的深入解讀,總結了一些經驗,下面就對用平面雙法蘭式差壓變送器測液面的經驗, 如:檢測的非線性、於堵等問題的解決,闡述一下分析和做法。
一、平面雙法蘭式差壓變送器測液面的檢測原理
平面式雙法蘭差壓變送器測液面的垂直式安裝方案如圖1 所示, 這是一種常規的安裝方式,也是一般儀表使用說明書中提供的安裝方案。

圖1 常規垂直安裝方案
Fig.1 Conventional vertical installation
由液體靜力學可知,以P0為基本感壓面感受的壓力將隨著液位高度的變化而變化,其關系式為
P0=HX ρg (1)
由式(1)可知,P0感受的壓力與液位的高低變化呈線性關系,因此只要檢測出壓力P0
即可得知工藝設備內部的實際液位高度。工藝設備內部液位的實際檢測運算如下:


以上描述的是平面法蘭式差壓變送器進行液位檢測的推導過程,同樣也是差壓式變送器檢測液位的基本原理。
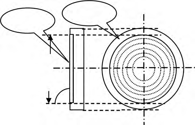
二、圓形膜片的感壓過程
平面式雙法蘭式差壓變送器一般是由2 個圓形感壓膜片組成,分別去感受儀表正壓側和負壓側的壓力,對圓形感壓膜片的過程進行分析,即可得到合理的感壓過程的結論。圖2 所示為感壓膜片的簡圖。膜片感壓過程的基本公式為:


感壓法蘭側視圖 感壓法蘭正視圖
圖2 感壓法蘭簡圖
Fig.2 Shock flange diagram
式中:P 為圓形金屬膜片實際感受的壓強;H 為圓形感壓膜片的直徑, 同時也是液面從0~H 的液位高度;S 為感壓膜片的表面積;ρ 為被測介質的密度;g為重力加速度。
式(9)表明了圓形感壓膜片的感壓過程是非線性的, 它是隨著感壓膜片浸入液體中的深度變化(線性)感壓膜片的感壓面積在做著非線性的變化,圖3 所示為液位變化與感壓的關系曲線。

圖3 液位變化與感壓的關系曲線
Fig.3 Relationship between liquid level change and sensory
三、平面式雙法蘭差壓變送器進行液位檢測的3 種安裝方案
3.1 平面式雙法蘭變送器的垂直安裝方案
如圖4 是一種由產品說明書提供的常規標準安裝方式,此種安裝方式比較常見,現在一般企業在使用平面式雙法蘭變送器測量液面(介面)時還是多用此種安裝方案,容器內的液位水平面與平面式雙法蘭變送器的圓形感壓膜片呈垂直的90°夾角,故又被稱之為平面式雙法蘭變送器測量液面(介面)的垂直安裝方案。

圖4 垂直安裝方案示意圖
Fig.4 Vertical installationscheme
在圖4 中,液體壓力作用在垂直安裝的正壓側圓形感壓膜片的表面上,作用在垂直安裝的負壓側圓形感壓膜片表面上的壓力,起初是容器內的氣體壓力,隨著液位的上升,負壓感壓膜片表面上的受壓隨著被液體的逐漸浸沒也進入了非線性模式,平面式雙法蘭液位變送器檢測的基本運算為P+的感壓運算:

由式(13)可得到平面雙法蘭變送器測量液面(介面)垂直安裝方案的感壓曲線,圖5 所示為垂直安裝方案液位變化與差壓的關系曲線。(注:通常正壓法蘭的感壓直徑與負壓法蘭的感壓直徑是相等的)

圖5 垂直安裝方案液位變化與差壓的關系曲線
Fig.5 Relationship between the change of liquid level
and differential pressure in vertical installation scheme
3.2 平面式雙法蘭變送器的下傾式安裝方案
為提高測量的精度,改善檢測的非線性和提高可靠性,減少故障,取重介質污物堆積和粘稠附著物體測量帶來的影響。我們采用了如圖6 所示的測量安裝方案。

圖6 下傾式安裝方案
Fig.6 Downpour installation scheme
由于法蘭的感壓面與容器內的被測液面呈一定的夾角,故稱之為下傾式安裝方案。這種安裝方案使H+0(H-0)的有效高度(感壓距離)縮短了,根據測量感壓公式式(13)得知,當H+0縮短后,式(13)中**部分的數值將會變小,這樣一來儀表的測量零點(或感壓膜的下部)便會向感壓膜片的中心線靠攏,感壓運算如下:

依據式(14),我們得到了如圖7 所示垂直安裝方案液位變化與差壓的關系曲線,式(14)感壓公式中**部分的數值變小,使測量中非線性段占全量程的百分比也小了,提高了全量程檢測的契合度。
圖七
3.3 平面式雙法蘭變送器的水平式安裝方案
為了徹底解決平面式雙法蘭變送器測量液面(介面) 的非線性問題及在小范圍的測量中無法正常使用的問題,經**技術人員的研討,我們提出了第三種測量安裝方式即水平式安裝方案, 如圖8所示。

圖8 水平式安裝方案簡圖
Fig.8 Horizontal installation scheme
這種安裝方式由于感壓膜片的平面與容器內被測介質的水平面是平行的且在同一平面,故稱之為水平安裝方案。由感壓公式式(13)得知,當H+0不再變化時,也就是說感壓膜片的感壓面積不再隨液位浸沒的變化而變化時,式(13)中的正壓**部分和負壓

片的感壓斜率為零,所以非線性部分的變化率也為零,故爾,這種測量安裝方式不存在非線性的問題,使儀表的全量程的測量精度有了徹底的改觀。同時,感壓膜片所在的水平面即為儀表測量的感壓零點,這樣就解決了測量零點界面不清晰,儀表輸出零點不易確定的問題,感壓運算如下:

這種水平測量安裝方案從根本上徹底解決了常規測量安裝方式、垂直測量安裝方案和下傾測量安裝方案中原本存在的諸多問題,使測量采樣更趨合理,所以適用于各種測量范圍和介質的液面及介面的測量, 液位變化與差壓的關系曲線如圖9 所示,徹底解決了檢測中出現的非線性問題。
圖九
四、三種安裝方案的使用分析
4.1 三種安裝方案感壓過程分析在相同的量程范圍下,使用同一種平面式雙法蘭變送器測量液面(參數相同)的情況下得到分析結果如表1 所示。

4.2 使用維護特點
4.2.1 平面式雙法蘭變送器的垂直安裝方式的特點適用于一般測量精度要求不高的大測量范圍的場合,當液位檢測范圍與法蘭感壓膜片直徑的比值較小時,儀表在低量程區間和高量程區間的線性都會比較差,在儀表測量范圍比較小時(如檢測范圍較小的情況時)且測量精度要求較高時,由于其非線性段占測量范圍的百分比數值較大,就會從儀表的測量初始段及的末尾段,會有很大的一段區間出現非線性誤差,這個誤差是無法修正的,所以測量的結果也就不是那么盡如人意。式(13)中的二部分是當液面越過了H+0高度后膜片的感壓面積不再發生變化的一段,這段為感壓的線性段,在這段中, 感壓膜片的受力雖仍為正弦特性, 但膜片的水平中心線的上下兩側是完全對稱的,所以膜片上下兩部分的平均受力正好為膜片水平中心線上的受力,故當ΔHmax>H0時則取膜片面積上的平均受力即可。當測量介質不清潔且粘稠易凝并含有較多的介質時,垂直安裝方式不論是大范圍的還是小范圍的測量都不會獲得令人滿意的測量結果。在我們的多次檢修中發現,粘稠介質和雜質會附著在感壓膜片的表面,改變了感壓膜片的表面張力,改變了力的傳遞的大小,時間長久附著在感壓膜片表面的雜質還會固化或附著在感壓膜片上(一般是感壓膜片的下部附著物較多), 使儀表的測量出現明顯的偏差(一般儀表指示偏低)。目前,為克服以上的問題各使用單位一般采用加溫的防冷凝,加沖洗液的方式防雜質堵塞。但當壓力傳遞通道沒有堵到一定程度時,沖洗液起不到明顯的作用,雜質依舊附著或堆積在膜片的下半部,垂直安裝方案所示的正壓入口處,這種安裝方案同時還存在測量的零點界面不清楚的問題。于是,我們根據實踐采用了下傾式取壓安裝方案。
4.2.2 平面式雙法蘭變送器的下傾式取壓安裝的特點
下傾式取壓安裝方式使H+0(H-0)的有效高度(感壓距離)縮短了,提高了測量的精度改善檢測的非線性和提高可靠性,降低了重介質污物在取壓口堆積的可能性, 和粘稠附著物體測量帶來的影響,提高了全量程檢測的契合度和可靠性。
下傾式取壓使導壓管中的重介質污物自然滑落入容器中,不易在導壓管內產生污物堆積,方便了介質交換。同時由于法蘭面有一定的傾斜角度給附著物在法蘭面的附著帶來了一定的困難。當選擇合適的導管長度時熱傳遞和介質交換會使附著物(或冷凝物)液化。這樣就基本上解決了重質污物的堆積堵塞和冷凝堆積的問題。這種測量安裝方案一般適用于大測量范圍的液位測量。但是測量效果只是相對垂直式安裝有所改善,但并沒有從根本上解決非線性和測量零點不清晰的問題。
4.2.3 平面式雙法蘭變送器的水平安裝的特點
為了解決小范圍的測量存在的非線性和測量零點界面不清的問題,提出了水平安裝方案,這種安裝方案中,由于感壓膜片的感壓平面與容器內被測介質的水平面基本是平行的,感壓膜片的感壓過程是全面積的,沒有漸浸過程,故這種測量安裝方案不存在非線性的問題,推論結果表明,儀表在全量程范圍內的測量精度有了徹底的改觀。同時,感壓膜片所在的水平面即為儀表測量的感壓零點,這樣就解決了測量零點界面不清晰,儀表輸出零點不易確定的問題,同時也增加了檢測的反應靈敏度。
五、實際應用
本廠使用平面法蘭式差壓變送器的情況:
例1 我廠的催化裂化裝置中的容6, 容7 液面原使用通用的差壓變送器進行測量, 故障頻發,每天要打沖洗油清掃導壓系統,很不理想,經分析多為采樣系統。后采用平面式雙法蘭差壓變送器,縮短了介質的引出(導壓)距離,采用標準的垂直安裝方案(由于容6,容7 的測量范圍很大均在10000mm 左右;),經試驗證明效果很理想,大大地降低了故障發生率,同時也降低了儀表工的勞動強度。
例2 在催化裂化裝置的塔三底液位及總進料的流量檢測中原均使用了通用的差壓變送器,故障頻發,經分析也多為采樣系統的問題,后采用平面式雙法蘭差壓變送器,雖解決了引壓系統頻繁阻塞的問題,但出現了檢測數據的非線性問題,為了解決非線性問題,我們引入了水平式安裝方案(塔三底液位的測量范圍在850 mm 左右),改造后,現已運行了數年故障率極低, 改造一年后將伴熱取消,效果依舊很好,特別是在冬季,儀表工的工作量有了大幅的下降。
六、結語
通過實際應用和理論總結,**種安裝方案和第三種安裝方案各有特點,**種安裝方案安裝相對簡便,適用于大量程檢測;第三種安裝方案安裝相對復雜,zui適合小量程的檢測,第三種安裝方案解決了**種和二種安裝方案導致的檢測中發生的非線性問題,尤其徹底解決了平面式雙法蘭差壓變送器對微小量程液位檢測的瓶頸。
上一條:關于電磁流量計維修的13個實例給檢查處理及維修方法總結
下一條:同是差壓式流量計,為什么V錐流量計比孔板流量計更有優勢
- 相關文章
-
- 80G 高頻雷達物位計液位計適用于泡沫和攪拌工況的原因分析 【2025-08-06】
- 80G高頻雷達液位計防腐防爆耐高溫的功能是如何實現的? 【2025-07-23】
- 高頻雷達液位計在石油行業液位測量應用中的優勢有哪些 【2025-07-17】
- 雷達液位計測量時如何有效規避攪拌葉片和泡沫的干擾? 【2025-07-07】
- 雙法蘭液位變送器組成 【2023-12-17】
- 液位變送器跟數顯表接線 【2023-12-30】
- 浮子式液位變送器的校驗 【2024-01-08】
- 壓力溫度液位一體式變送器 【2023-12-18】
- 液位變送器的正確安裝方法 【2023-12-16】
- 李克強總理重申雙創 國內中小型儀表企業創新迫在眉睫 【2015-10-29】









